Sprinkler-putki ZN Geberit Mapress 35x1,5x6000 sisä- ja ulkopinta sinkitty
LVI-numero 0478156
Toimittajan tuotenumero 19406
Pikakoodi WJ00
Geberit Mapress -hiiliteräsjärjestelmäputki, sähkösinkitty sekä sisältä että ulkoa. Seostamaton teräs 1.0215 E220 (EN 10305), jonka pinnankarheus on 10 µm. Lämpölaajeneminen 0.012 mm/(m·K), erityinen lämpökapasiteetti 500 J/(kg·K).

Tuotteen perustiedot
- LVI-numero 0478156
- Yleisnimi (ERP) SPRINKLER PUTKI ZN MAPRESS
- Tarkenne (ERP) 35 SISÄ- JA ULKOPINTA SINKITTY
- Tuotemerkki Geberit
- Tuotesarja Mapress
- Pikakoodi WJ00
- Toimittajan tuotenumero 19406
- EAN-koodi 4024723194064
- Varastoitavuus Varastoitava
- Pakkauskoot 420/420/420/420
- Minimimyyntierä 6
Tuotteen ominaisuudet
- ETIM-luokka EC010032 - Ohutseinäinen teräsputki
- Materiaali Hiiliteräs
- Pintakäsittely Sinkitty
Mitat
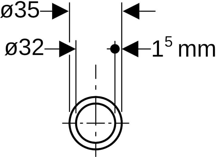
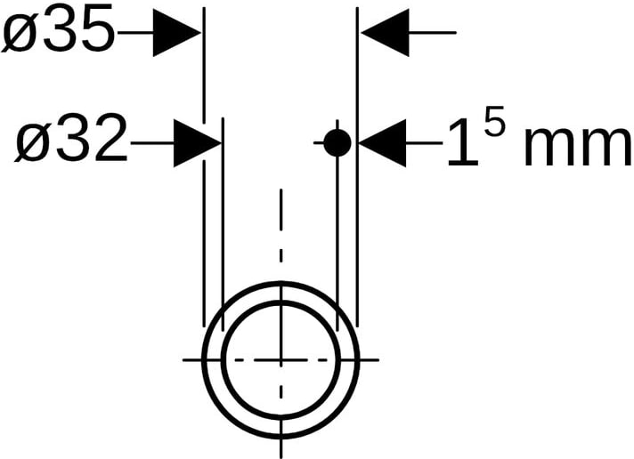
- Pituus (mm) 6000
- Nimellishalkaisija DN 32
- Sisähalkaisija 32
- Ulkohalkaisija 35
- Seinämän paksuus 1.5
Tekniset ominaisuudet
- Lämmönjohtavuus 60 W/(m·K)
EPD-ympäristötiedot
- EPD-ympäristöseloste
- GWP total, tuotevaihe (A1-A3) 3,54 kg CO2e/kg
- GWP-luvun laskentastandardi EN 15804:2012 + A2:2019
- GWP, kolmannen osapuolen verifiointi Kyllä







