Sprinkler-putki ZN Geberit Mapress 18x1,5x6000 sisä- ja ulkopinta sinkitty
LVI-numero 0478153
Toimittajan tuotenumero 19403
Pikakoodi WP03
Geberit Mapress -hiiliteräsjärjestelmäputki, sähkösinkitty sekä sisältä että ulkoa. Seostamaton teräs 1.0215 E220 (EN 10305), jonka pinnankarheus on 10 µm. Lämpölaajeneminen 0.012 mm/(m·K), erityinen lämpökapasiteetti 500 J/(kg·K).

Tuotteen perustiedot
- LVI-numero 0478153
- Yleisnimi (ERP) SPRINKLER PUTKI ZN MAPRESS
- Tarkenne (ERP) 18 SISÄ- JA ULKOPINTA SINKITTY
- Tuotemerkki Geberit
- Tuotesarja Mapress
- Pikakoodi WP03
- Toimittajan tuotenumero 19403
- EAN-koodi 4025416927976
- Varastoitavuus Varastoitava
- Pakkauskoot 840/840/840/840
- Minimimyyntierä 6
Tuotteen ominaisuudet
- ETIM-luokka EC010032 - Ohutseinäinen teräsputki
- Materiaali Hiiliteräs
- Pintakäsittely Sinkitty
Mitat
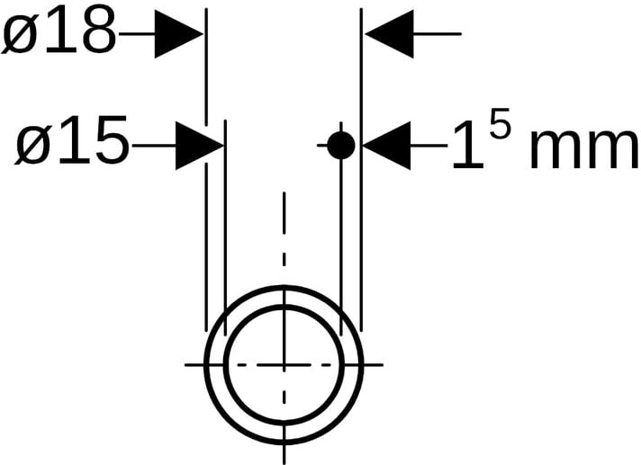
- Pituus (mm) 6000
- Nimellishalkaisija DN 15
- Sisähalkaisija 15
- Ulkohalkaisija 18
- Seinämän paksuus 1.5
Tekniset ominaisuudet
- Lämmönjohtavuus 60 W/(m·K)
EPD-ympäristötiedot
- EPD-ympäristöseloste
- GWP total, tuotevaihe (A1-A3) 3,54 kg CO2e/kg
- GWP-luvun laskentastandardi EN 15804:2012 + A2:2019
- GWP, kolmannen osapuolen verifiointi Kyllä







